AI如何重塑配电运维?揭秘“智慧大脑”背后的逻辑
2025-08-18 01:02:51
新闻动态
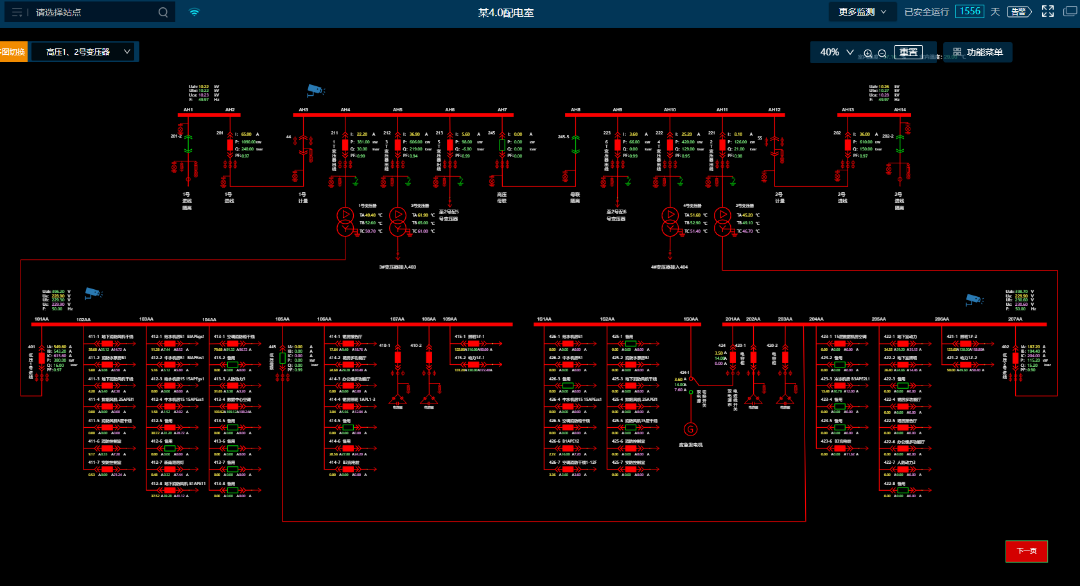
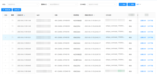
易电务配电智能运维平台深度融合物联网、云计算技术,通过传感器365*24小时实时监测配电室运行情况。通过高频采样+AI智能识别可以实现毫秒级、每周波1024点采样,精准捕捉微观波形和暂态突变。此外,系统还辅以视频监控及AI分析、动环监测等,实现对配电室及运行环境的全方位动态监视。 易电务智能运维系统,通过大数据分析与历史数据建模,可对配电室内电气设备运行数据越限及环境状态异常进行即时预告警通知。并通过高频采样和分解计算,准确识别容性剩余电流、谐波等干扰,对真正引起电气火灾的阻性剩余电流进行预警,高精度识别故障电弧,为电气火灾预警提供全要素支撑。



传统运维模式下,一旦发生故障,难以快速有效故障定位、故障分析。发生停电时,第一时间难以判断是人为操作还是故障跳闸,更难以对故障原因类型进行识别诊断。多数情况下,故障排除只能依赖现场逐级排查与试送电,但在不明原因情况下的试送电反而会产生次级危害、扩大故障范围。而在智能运维模式下,一旦发生短路、过流、越级等故障,就会触发故障录波,通过AI智能识别并进行诊断和告警,可以实现精准判断加快抢修进度,杜绝复发,事后可追溯、分析。

易电务不仅解决当前问题,更通过AI构建设备“数字健康档案”,实现全生命周期管理,为每台设备建立动态健康档案,整合运行数据、维保记录、试验报告,AI评估设备健康状态,赋能设备全生命周期管理。
相关文章